各縣、市、區人民政府,隨州高新區、大洪山風景名勝區管理委員會,市政府各部門:
《隨州市重污染天氣應急預案(試行)》已經市人民政府同意,現印發給你們,請認真組織實施。
2014年12月26日
隨州市重污染天氣應急預案(試行)
目 錄
1.總則
1.1 編制目的
1.2 編制依據
1.3 適用范圍
1.4 工作原則
1.5 預案體系
2.組織機構構成與職責
2.1 領導機構及其職責
2.2 辦事機構及其職責
2.3 指揮部督查組及其職責
2.4 應急指揮部成員單位和縣(市、區)政府(管委會)職責
3.預警
3.1 預警的分級
3.2 預警的發布
3.3 預警措施
3.4 預警等級調整和預警終止
4.應急響應
4.1 響應分級
4.2 響應指揮與組織實施
4.3 響應措施
4.4 應急措施的執行與監督
4.5 響應終止
5.總結評估
6.應急保障
6.1 人員保障
6.2 科技保障
6.3 通信保障
6.4 經費保障
7.監督管理
7.1公眾宣傳
7.2 預案演練
7.3 責任追究
8.附則
?
?
1.總則
1.1 編制目的
建立健全重污染天氣預警和應急機制,確保重污染天氣時應急工作高效、有序進行,保障公眾身體健康,促進社會和諧。
1.2 編制依據
依據《中華人民共和國環境保護法》、《中華人民共和國大氣污染防治法》、《大氣污染防治行動計劃》(國發〔2013〕37號)、《省人民政府關于貫徹落實國務院大氣污染防治行動計劃的實施意見》(鄂政發〔2014〕6號)、《城市大氣重污染應急預案編制指南》(環辦函〔2013〕504號)等法律、法規和規范性文件,制定本預案。
1.3 適用范圍
本預案適用于隨州市行政區域內發生重污染天氣的預警和應急響應。
本預案所稱重污染天氣,是指根據《環境空氣質量指數(AQI)技術規定(試行)》(HJ633—2012),全市空氣質量國控監測點空氣質量指數(AQI)大于或等于201,即空氣質量達到5級(重度污染)及以上污染程度的大氣污染。
1.4 工作原則
(1)以人為本,預防為主。以保障公眾身體健康作為重污染天氣應急響應的出發點和落腳點,加強各類大氣污染排放源應急管理,引導公眾采取健康防護措施,最大程度地降低重污染天氣對公眾身體健康的影響。
(2)強化管理,統一領導。建立統一的應急管理系統,實行屬地管理,各負其責,實現多地區、多部門協調有序、運轉高效的應急管理體系。
(3)加強預警,及時響應。建設重污染天氣監測預警平臺,氣象、環保等部門緊密配合,提高重污染天氣監測預警工作的現代化水平,做到提前預警、及時響應。
(4)部門聯動,社會參與。積極做好應對重污染天氣的思想準備、技術準備、工作準備,加強培訓,組織有關政府部門、各縣(市、區)政府、隨州高新區和大洪山風景名勝區管委會、重點排污單位編制保障預案和實施方案,開展應急演練,加強對公眾污染防護知識的宣傳普及。
1.5 預案體系
隨州市重污染天氣應急預案體系包括:市重污染天氣應急預案、政府部門重污染天氣應急保障預案、縣(市、區)政府、隨州高新區和大洪山風景名勝區管委會重污染天氣應急保障實施方案及重點排污單位重污染天氣應急保障預案。
2 組織機構構成與職責
2.1 領導機構及其職責
成立隨州市重污染天氣應急指揮部(以下簡稱應急指揮部),總指揮由分管環境保護工作的副市長擔任,副總指揮由市人民政府分管副秘書長和市環保局局長擔任。
應急指揮部的主要職責:貫徹落實市委、市政府決策部署,建立預警應急指揮系統,組織實施重污染天氣應急響應工作。
2.2 辦事機構及其職責
應急指揮部的辦事機構是隨州市重污染天氣應急指揮部辦公室(以下簡稱應急指揮部辦公室),設在市環保局。應急指揮部辦公室主任由市環保局局長擔任。
應急指揮部辦公室的主要職責:負責應急指揮部的日常工作,指導、協調、監督重污染天氣預警,督促檢查各成員單位、縣(市、區)政府、隨州高新區和大洪山風景名勝區管委會應急響應措施的落實情況。
2.3 指揮部督查組及其職責
應急指揮部督查組由市政府應急辦、市環保局組成,其主要職責是:對應急指揮部成員單位應急保障預案、縣(市、區)政府、隨州高新區和大洪山風景名勝區管委會應急保障實施方案落實情況進行監督檢查和責任追究。
2.4 應急指揮部成員單位和縣(市、區)政府(管委會)職責
2.4.1成員單位及其職責
(1)市委宣傳部:負責制定重污染天氣新聞信息發布應急保障預案,并組織落實;協調本市各級政府網站、廣播電臺、電視臺、報刊等媒體,做好宣傳、信息發布和新聞報道等工作。
(2)市環保局:承擔應急指揮部辦公室的職責。負責本市空氣環境質量監測、重污染天氣預警,以及對重點排污企業主要污染物排放情況進行執法檢查等,并制定監測預警應急保障預案。
(3)市政府應急辦:履行綜合協調職責,發揮運轉樞紐作用;協助做好重污染天氣預警、應急處置、調查評估及善后工作;協助組織跨縣(市、區)、跨部門的重污染天氣應對工作。
(4)市氣象局:負責制定重污染天氣氣象保障預案,并組織落實;及時提供重污染天氣氣象預報信息,與市環保局等部門對預警信息進行會商,按要求及時協助發布預警信息。
(5)市經信委:負責制定重污染天氣重點排污企業應急保障預案,并組織落實;配合地方政府和市環保局制定重污染天氣期間停、限產工業企業名錄并及時更新。
(6)市住建委:負責制定重污染天氣建筑施工、市政施工、園林綠化、拆房工地等行業管理工地揚塵和城區道路清掃保潔、揚塵污染控制應急保障預案,并組織落實。
(7)市國土資源局:負責制定重污染天氣土地整理等行業管理工地揚塵污染控制應急保障預案,并組織落實。
(8)市交通運輸局:負責制定重污染天氣道路施工工地揚塵污染控制、公共交通運力應急保障預案,并組織落實。
(9)市水利局:負責制定重污染天氣水利工程等施工工地揚塵污染控制應急保障預案,并組織落實。
(10)市農業局:負責制定農作物秸稈綜合利用實施方案,配合相關部門做好重污染天氣情況下秸稈禁燒等應急工作。
(11)市公安局:負責制定重污染天氣機動車限行應急保障預案,并組織實施;組織編制《關于重污染天氣期間采取臨時交通管制措施的通告》;加大禁止燃放煙花爆竹的執法檢查力度。
(12)市教育局:負責制定重污染天氣中小學及幼兒園減少或停止戶外活動、健康防護、停課等應急保障預案,并組織落實。
(13)市衛計委:負責制定重污染天氣人體健康防護應急保障預案,并組織落實;開展重污染天氣對人體健康影響的研究和防護知識宣傳;組織醫療機構做好敏感人群醫療救治工作。
2.4.2縣(市、區)政府(管委會)職責
成立縣(市、區)政府(管委會)重污染天氣應急指揮部,負責制定并實施本行政區域重污染天氣應急保障實施方案,落實市級應急預案以及應急指揮部各成員單位應急保障預案的各項任務、措施,并將實施方案的執行情況及時上報市應急指揮部。
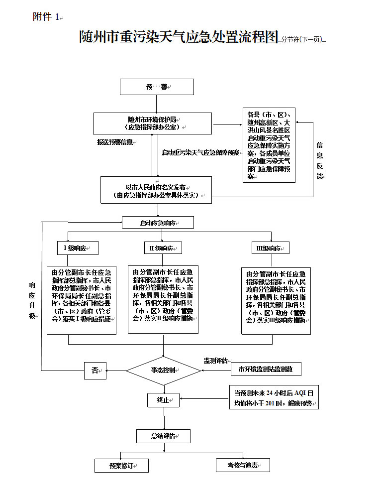
3 預警
3.1 預警的分級
重污染天氣預警等級分為三級,分別為Ⅲ級(黃色)、Ⅱ級(橙色)、Ⅰ級(紅色)預警,Ⅰ級(紅色)為最高級別。
(1)Ⅲ級(黃色)預警。經預測,將發生連續三天AQI>200(指全市國控環境空氣質量監測點AQI日均值),但未達到Ⅱ級(橙色)、Ⅰ級(紅色)預警等級,空氣質量為重度污染或以上級別。
(2)Ⅱ級(橙色)預警。經預測,將發生連續三天500>AQI>300,空氣質量為嚴重污染級別。
(3)Ⅰ級(紅色)預警。經預測,將發生一天(含)以上AQI≥500,空氣質量為極重污染。
3.2 預警的發布
3.2.1監測預警
市環保局負責開展本市重污染天氣監測預警工作。市氣象局負責開展本市天氣狀況監測預警工作,在出現靜風、逆溫等不利氣象狀況時及時將有關信息通報市環保局。
3.2.2預警信息的發布
預警信息以市人民政府名義發布。由應急指揮部辦公室具體落實。Ⅲ級(黃色)預警經市人民政府分管環境保護工作的副市長批準后向社會統一發布;Ⅱ級(橙色)、Ⅰ級(紅色)預警經市人民政府主要領導批準后向社會統一發布。
應急指揮部辦公室通過以下三種方式發布預警信息:
一是通過已建立的應急工作聯絡網,以文件傳真的方式發布預警信息。各責任部門和各縣(市、區)政府(管委會)接到預警信息后,立即通知管轄范圍內的各單位及工業企業、各類施工工地啟動應急響應。
二是通過手機短信平臺發布預警信息,通知各責任部門、各縣(市、區)政府(管委會)以及重點工業企業和各類施工工地啟動應急響應。同時將預警信息、建議性和健康防護措施通知廣大手機用戶。
三是由應急指揮部提供應急預警的新聞通稿,由市委宣傳部組織協調本市各新聞網站、廣播電臺、電視臺和報刊等媒體向公眾發布預警信息、建議性和健康防護措施。
預警信息內容包括重污染天氣發生的時間、地點、范圍、預警等級、主要污染物濃度范圍等。
3.3 預警措施
3.3.1Ⅲ級(黃色)、Ⅱ級(橙色)預警措施
應急指揮部辦公室及時通過廣播、電視、網絡、電子顯示裝置、報刊等媒體和微博、手機短信等方式向公眾發布信息,告知公眾主動采取健康防護措施。
3.3.2Ⅰ級(紅色)預警措施
在采取Ⅱ級(橙色)預警措施的基礎上,應急指揮部辦公室設專人24小時值守,確保通訊暢通,加強監控,對重污染天氣可能發生的時間、地點、范圍、強度、移動路徑的變化情況作出預測預報,增加向社會公眾發布預警信息的頻次。
應急指揮部各成員單位根據各自職責,在學校、醫院、體育場(館)、機場、車站、碼頭、旅游景區(點)等重點區域和人員密集的場所,做好重污染天氣預警信息的接收和傳播工作。
3.4 預警等級調整和預警終止
預測AQI日均值發生變化,應急指揮部及時對預警等級進行調整,經批準后,由市人民政府統一向社會發布。
經預測,未來不滿足重污染天氣預警條件時,由市人民政府統一向社會發布預警終止信息。
一旦再次出現本預案規定的重污染天氣Ⅲ級(黃色)、Ⅱ級(橙色)或Ⅰ級(紅色)預警條件時,重新發布預警信息。
4 應急響應
4.1 響應分級
對應預警等級,實行三級響應。
(1)當發布Ⅲ級(黃色)預警時,啟動Ⅲ級響應。
(2)當發布Ⅱ級(橙色)預警時,啟動Ⅱ級響應。
(3)當發布Ⅰ級(紅色)預警時,啟動Ⅰ級響應。
4.2 響應指揮與組織實施
預警信息一經發布,立即啟動應急響應,應急指揮部各成員單位、縣(市、區)政府(管委會)在收到應急預警信息后,立即啟動各自保障預案和實施方案,按照保障預案、實施方案落實應急響應措施;應急指揮部督查組將會同監察部門在預警信息發布24小時后對各成員單位、各縣(市、區)政府(管委會)的落實情況進行監督檢查。
4.3 響應措施
4.3.1Ⅲ級響應措施
4.3.1.1強制性措施
(1)重點排污工業企業按照重污染天氣應急保障預案采取限產等措施,確保二氧化硫、煙(粉)塵、氮氧化物排放量削減20%。加大巡查力度,對排放大氣污染物不能穩定達標的企業要立即停止超標排放。
(2)一般污染排放企業采取使用低硫優質煤、提高污染治理設施運行效率、壓縮生產負荷等措施,確保二氧化硫、煙(粉)塵、氮氧化物排放濃度控制在現行排放標準限值以內。加大巡查力度,對排放大氣污染物不能穩定達標的企業要立即停止超標排放。
(3)停止所有建筑、拆房、市政、道路、水利、綠化、電信等施工工地的土石方作業(包括:停止土石方開挖、回填、場內倒運、摻拌石灰、混凝土剔鑿等作業,停止建筑工程配套道路和管溝開挖作業,停止工程渣土運輸);中心城區和中心城區以外縣(市、區)政府所在地主要道路加大清掃頻次。
(4)加強公交運力保障。
(5)禁止露天燒烤,禁止垃圾、秸稈焚燒。
(6)所有水泥粉磨站、渣土存放點全面停止生產、運行。堆放的散體物料全部苫蓋,增加灑水降塵頻次。
4.3.1.2建議性和健康防護措施
(1)提醒兒童、老年人和心臟病、肺病患者以及過敏性疾病患者應當留在室內,停止戶外運動,一般人群減少戶外運動。
(2)盡量乘坐公共交通工具出行,減少汽車上路行駛。
(3)停車時及時熄火,減少車輛原地怠速運行。
(4)盡量避免機動車日間加油。
(5)倡導文明生活方式,減少燃放煙花爆竹、祭祀燒紙等行為。
(6)停止開放景觀燈光,縮短商場、超市等公眾聚集的大型服務設施營業時間。
4.3.2Ⅱ級響應措施
4.3.2.1強制性措施
在Ⅲ級響應措施的基礎上增加以下措施:
重點排污工業企業按照重污染天氣應急保障預案采取限產等措施,確保二氧化硫、煙(粉)塵、氮氧化物排放量削減30%。
4.3.3Ⅰ級響應措施
在Ⅱ級應急響應措施基礎上,增加以下強制性措施:
(1)停止全市與建設工程有關的生產活動。
(2)中小學及幼兒園停課。
(3)停止所有戶外大型活動。
(4)企事業單位實行彈性工作制。
4.4 應急措施的執行與監督
應急指揮部辦公室建立污染源排放清單并定期更新,建立應急響應聯絡圖,建立監督機制,編制督查方案,組建檢查隊伍。應急指揮部督查組會同監察部門按照事先制定的督查方案采用巡查、抽查的方式檢查各成員單位、各縣(市、區)政府(管委會)落實應急響應措施情況,發現沒有嚴格落實響應措施的,應現場進行糾正,督促落實。對于發現的問題應及時上報應急指揮部。
4.5 響應終止
預警解除即響應終止,以市人民政府名義進行發布,應急指揮部各成員單位、各縣(市、區)政府(管委會)負責通知采取響應措施的單位終止響應。
5 總結評估
響應終止后,應急指揮部辦公室組織對響應過程和響應措施效果進行總結、評估,完成評估報告上報至應急指揮部。
6 應急保障
6.1 人員保障
應急指揮部辦公室設專職人員,確保日常工作的順利開展。應急指揮部成員單位應設專人負責重污染天氣應急工作,指導部門、縣(市、區)、企業重污染天氣應急隊伍的建設,提高重污染天氣應急預案、應急保障預案和實施方案的組織、協調、實施和監管的能力,保證預警和響應工作的嚴格落實。
6.2 科技保障
加強空氣質量監測網絡的覆蓋范圍、大氣污染源自動監控系統、空氣質量預測預報系統和監測預警平臺建設,加強監測、氣象專家隊伍建設。
6.3 通信保障
各預警、應急響應相關部門要建立和完善環境安全應急指揮系統。配備必要的通訊器材,確保本預案啟動時應急部門與人員的聯絡暢通。
6.4 經費保障
重污染天氣應急工作經費按照現行事權、財權劃分原則,分級負擔。財政、審計部門要加強對重污染天氣專項資金的監督管理,任何單位和個人不得挪用,一旦出現違法行為,依法追究其法律責任。
7 監督管理
7.1 公眾宣傳
通過電視、廣播、報紙、互聯網、手冊、刊物、宣傳畫等手段,廣泛宣傳針對重污染天氣的各項應急法律、法規,積極向群眾宣傳重污染天氣的健康防護常識和技能。
7.2 預案演練
每年組織1次綜合應急演練。演練結束后,組織專家對演練進行評估,根據演練情況及時修改,補充相應的應急保障預案和實施方案。
7.3 責任追究
政府有關部門、國有企業工作人員玩忽職守、失職、瀆職的,要進行責任追究。對應急預案落實不到位的工業企業及其工作人員,要依法嚴肅查處。應急響應結束后,預案執行情況專報市人民政府,并進行通報。
8 附則
本預案由應急指揮部組織實施。應急指揮部各成員單位和縣(市、區)政府(管委會)按照本預案的規定履行職責并制定相應的應急保障預案或實施方案。
本預案根據實際情況及時修訂。
?
附件:1.隨州市重污染天氣應急處置流程圖
2.信息發布流程圖
?

?
?
掃一掃在手機上查看當前頁面
您訪問的鏈接即將離開“隨州市人民政府”門戶網站,是否繼續?
您的瀏覽器版本太低!
為了更好的瀏覽體驗,建議升級您的瀏覽器!